Skip to content

Oculus Patented New Eye Tracking Device Days After Acquiring The Eye Tribe

Oculus Patented New Eye Tracking Device Days After Acquiring The Eye Tribe

Back in mid-April we wrote about a new patent from Oculus that further supported theories the company may one day release hand-tracking gloves for VR experiences. Now another new patent points to the company’s work in eye tracking.

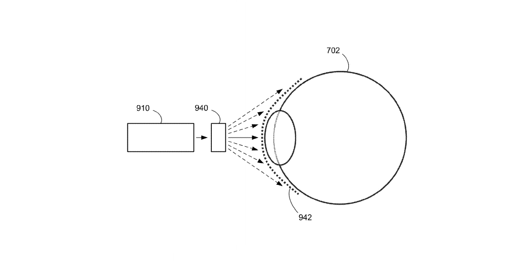
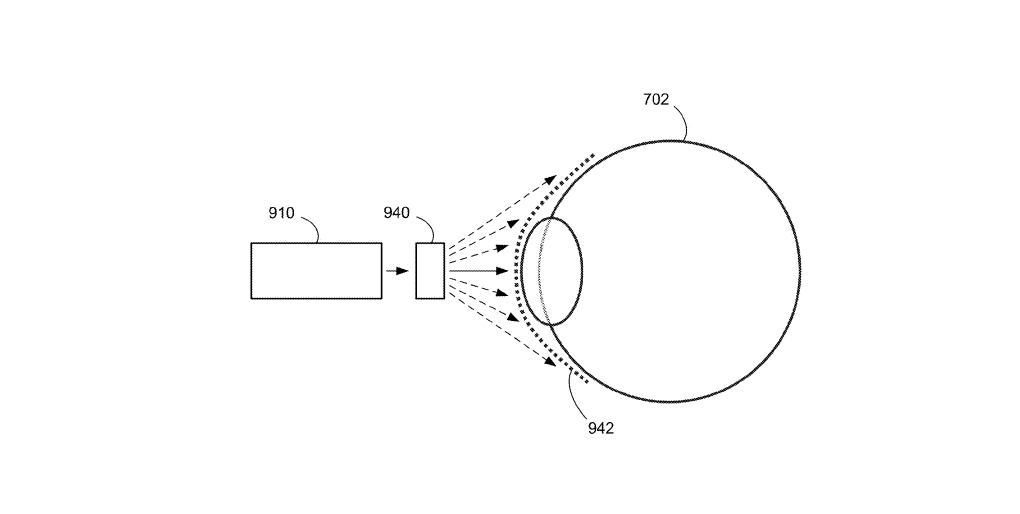
Another document published last month — and filed by Oculus at the end of 2016 — details “a device for eye tracking” that includes “a first depth profiler” that can configure the distance between it and a user’s eye. It also contains a “display device configured to display one or more images selected based on a position of the eye,” suggesting the display would in some way react to where the user was looking.

Oculus Eye Tracking Patent 2

The patent features a wealth of figures detailing one potential way in which Oculus may track eye movement and location. It notes that there is a need for eye tracking that is “compact, light, and accurate”, which it says this method delivers, as well as boasting “low power consumpter, to ensure a long battery life.”

That last part raises questions. Does this mean that any eye tracking device Oculus designs might be separate from the VR headset itself? Why would eye tracking integrated into a wired PC headset like the Rift need a battery? Or perhaps this is designed for mobile and standalone headsets like the Santa Cruz prototype.

Interestingly, this patent was filed on December 30th, just two days after Oculus acquired an eye-tracking company by the name of The Eye Tribe. It looks like Facebook’s VR team set Eye Tribe straight to work, then, though there’s no telling when we’ll see the fruits of their labor. HTC, meanwhile, last week announced that a $220 upgrade kit would add eye-tracking to its Vive VR headset.

Eye tracking is set to play a big role in pushing the VR industry forward for multiple reasons. On the surface, it can be used as a new form of input, but it is also crucial to foveated rendering, a means of full rendering a virtual experience only in the exact location a pupil is facing, dramatically cutting down on the processing power needed to run VR experiences. It’s also necessary for convincing human interaction replication.

Will Oculus reveal its plans for eye tracking this year? Or do we have longer to wait?

UploadVR logo

Unlock the full potential of UploadVR and support our independent journalism with an ad-free experience by becoming a Member.

Weekly Newsletter

See More