Skip to content

Sony Patents Prescription Glasses With Eye-Tracking To Use With VR Headset

Sony Patents Prescription Glasses With Eye-Tracking To Use With VR Headset

Well, this is an interesting little design. Sony has patented what looks like a pair of prescription glasses for use with VR headsets like PSVR. Not only that, but the glasses include eye-tracking sensors.

The patent, published last week, doesn’t showcase a new VR headset with its own eye-tracking capabilities. Instead, it’s concerned with a pair of prescription glasses to fit inside such a headset. VR headsets have had an uneven history with supporting glasses; some accommodate them quite easily and other major ones don’t. Designing custom glasses intended for use with a headset could help Sony bring in more VR enthusiasts for PSVR or perhaps the unannounced PSVR 2.

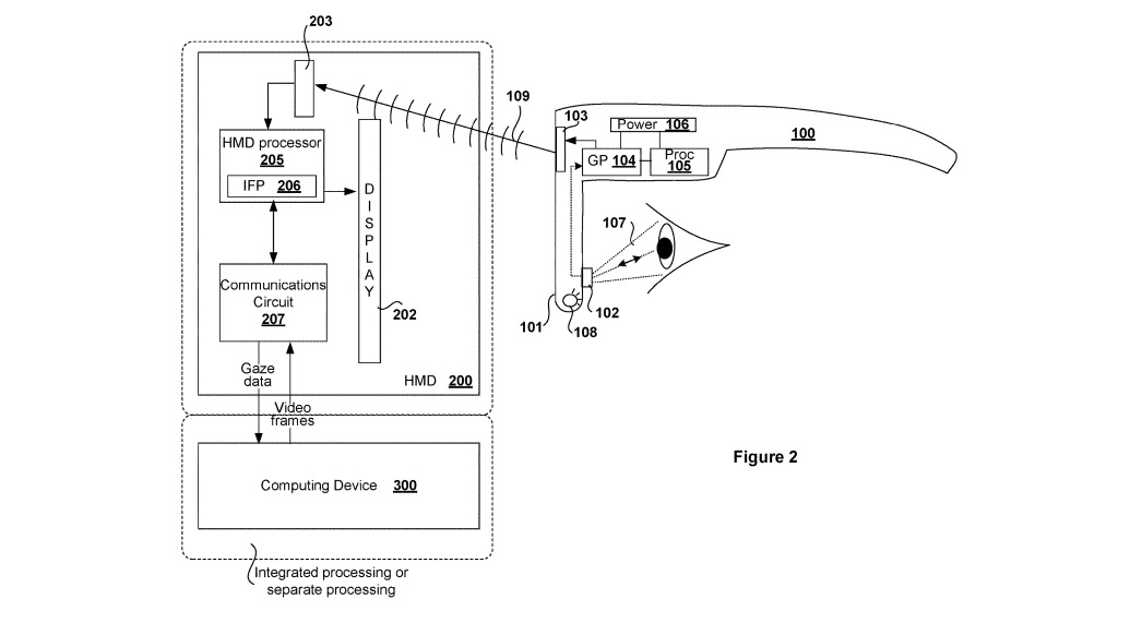
But it’s the inclusion of an eye-tracking sensor that makes this patent really interesting. The patent says that the sensor is able to determine “gaze information of the user in order to improve quality of content provided for rendering on the head mounted display.”

To us, that sounds a lot like foveated rendering. That’s a process in which a headset tracks the position of the user’s eyes and fully renders the area of the screen in the center of their vision. The rest of the image isn’t fully rendered, but this is unnoticeable in the user’s peripheral vision. This greatly reduces the processing power demanded on the machine running the VR experience.

The question is, why would these glasses include the eye-tracking sensor and not the headset itself? We can think of several reasons. Perhaps, for example, these glasses could be used in tandem with the current PSVR headset, which doesn’t feature eye-tracking. PSVR is home to great experiences, but it’s no secret that the PS4 that powers it pales in comparison to PCs running the Oculus Rift and HTC Vive. Implementing foveated rendering into the current setup could really give PSVR a boost.

Or perhaps it’s simply that using these glasses disrupts an eye-tracking sensor already embedded in the next version of PSVR. As such, the sensor in the glasses simply replaces the other one. Or it could be neither of those things. At a time in which companies are striving to make VR more accessible, we have to wonder if Sony would really ask people to buy glasses specifically designed for use with headsets.

This is just the latest in a series of patents we’ve seen from Sony in 2019. Last month we reported on what looked a wireless version of PSVR. Back in February we also spotted some new features for a long-running controller patent that could replace PlayStation Move. Still, with so many great PSVR games coming this year, we wouldn’t expect to see the headset’s successor in 2019.

UploadVR logo

Unlock the full potential of UploadVR and support our independent journalism with an ad-free experience by becoming a Member.

Weekly Newsletter

See More