20 January 2021 Apple Aims For High-End, 'Mostly VR' Headset As Soon As 2022 - Report , & Jamie Feltham
13 January 2021 Boz: Non-Store Quest App Distribution Coming 'Sooner Than People Think' , & Jamie Feltham
4 January 2021 Cybershoes for Quest Triples Kickstarter Goal With Over $98,000 Raised , & David Jagneaux
28 December 2020 Cybershoes for Oculus Quest Impressions: Surprisingly Effective VR Movement , & David Jagneaux
21 December 2020 Anker Oculus Quest 2 Charging Dock For Headset And Controllers Revealed , & Jamie Feltham
15 December 2020 Facebook Resumes Quest 2 Elite Strap Shipping With 2-Year Replacement Offer , & Jamie Feltham
10 December 2020 Oculus Quest 2 Stock Gone? This Chrome Extension Alerts You When It's Back , & David Heaney
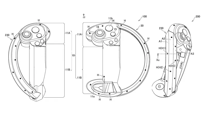
24 November 2020 Sony Patent Filing Reveals VR Headset With Haptic Feedback Generator , & Jamie Feltham
23 November 2020 I've Had Oculus Quest 2 Since August, The Controller Batteries Just Ran Out , & Jamie Feltham
22 November 2020 Sony Launches Yet Another PSVR Mega Pack, Now Including PS5 Adaptor , & Jamie Feltham
11 November 2020 Oculus Quest Can Now Cast To PC, App Getting 'Spectator Mode' Next Year , & David Heaney
10 November 2020 PlayStation Camera Adapter Comes With Iron Man PSVR Bundles In US & Canada From Late November , & Jamie Feltham
9 November 2020 bHaptics Launches Pre-Orders For New VR Haptic Vests, Starting At $299 , & Jamie Feltham
8 November 2020 PSVR Games With Unlocked Framerate/Dynamic Resolution Could See PS5 Improvements, Sony Confirms , & Jamie Feltham
6 November 2020 PS5 VR Review: An Amazing Console That Isn't Worth It For VR (Yet) , & David Jagneaux
5 November 2020 PSVR PS5 Camera Adapter Included With New Hardware Bundles In Japan And Europe , & Jamie Feltham