Skip to content

Universal Is Researching AR And VR For Their Theme Park Rides

Universal Is Researching AR And VR For Their Theme Park Rides

Parks like Universal Studios and the Islands of Adventure are wonderful and exciting experiences, serving as gateways to a collection of fantasies. Various other parks are experimenting with immersive technology to bring more fun to their patrons and it looks like Universal is at least considering some changes.

Bizjournals spotted a new patent that shows Universal is looking at new ways to bring their theme parks to life. The images are labeled “systems and methods for generating augmented and virtual reality images” and there are a few specifics in the document to take note of:

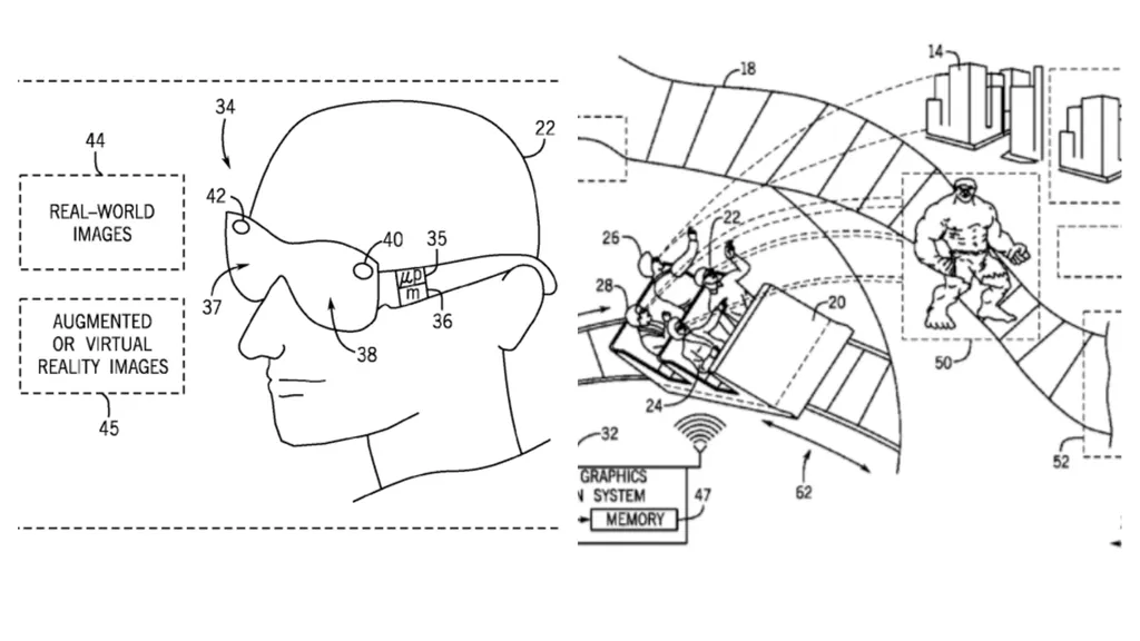
Present embodiments relate to systems and methods of providing an augmented reality (AR) experience, a virtual reality (VR) experience, a mixed reality (e.g., a combination of AR and VR) experience, or a combination thereof, as part of an attraction, such as a thrill ride, in an amusement park or theme park. In certain embodiments, each ride passenger may be provided a pair of electronic goggles or eyeglasses to be worn during a cycle of the thrill ride. The electronic goggles may facilitate an AR experience, a VR experience, or a combination of both experiences. Thus, the electronic goggles may be referred to as AR/VR goggles.

Disney also recently spoke on adopting AR for their attractions as well, specifically going into detail on why augmented experiences are better for parks than VR. The Disney CEO’s logic centered on VR hiding the park from visitors while AR enhanced these carefully crafted attractions. Universal looks to be adopting both, though the existence of this patent doesn’t guarantee that they’ll move forward with one of these technologies.

Universal is on the brink of a massive expansion of their brand, recently breaking ground on their new Super Nintendo World in Universal Japan. If they decide to expand their experiences with VR/AR, their massive reach could be a powerful force in introducing average consumers to immersive technology. Let us know what you think down in the comments below!

UploadVR logo

Unlock the full potential of UploadVR and support our independent journalism with an ad-free experience by becoming a Member.

Weekly Newsletter

See More