A new Nintendo Switch VR headset has been spotted in patents that could hint at a new product.
Let’s Go Digital first spotted the patent, which was reportedly originally filed in February 2018 and granted last month. It was filed through the Japanese Patent Office, so it’s hard to translate exactly what’s going on. The pictures sort of speak for themselves though.
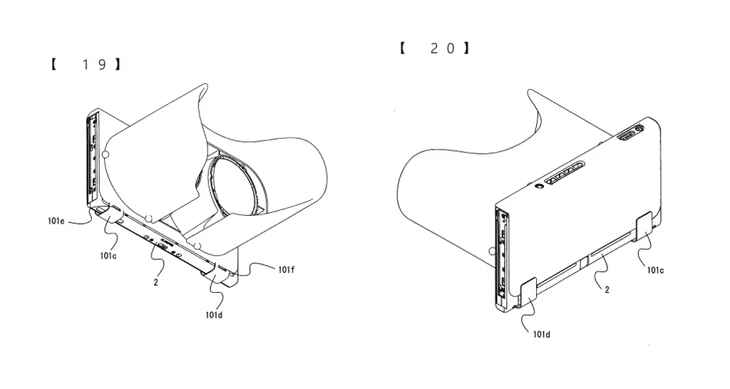
This looks like a simplified version of the base Labo VR headset released earlier this year. Labo VR was essentially Google Cardboard for Switch, housing the main console in front of a pair of lenses you held to your head. You built the headset yourself with instructions and, crucially, also constructed add-ons like a blaster and camera. We thought it offered a crusty but wholesome VR experience.
A New Switch VR Headset?
But this patent instead shows a stripped-back headset with a pair of lenses and a slim case that seems to fit around the Switch. Now it’s very possible this all just details the groundwork for what would become Labo VR. But it could also mean a simplified version of a Switch VR headset is on the way, without the Labo DIY element. It reminds us a little of these fan-made concept images for a Switch VR headset. You still have to hold the thing to your face, though.
Why would Nintendo do this? Well, since launch, a surprisingly large number of Nintendo-made games recieved free VR support. Super Mario Odyssey, The Legend of Zelda: Breath of the Wild and Super Smash Bros Ultimate all got VR support. Plus, other developers can now release Switch VR games, like last week’s launch of Spice & Wolf VR. Nintendo might be planning to launch a cheaper, pre-made VR headset to allow these VR titles to reach more customers.
It’s an interesting idea, though removing the Labo VR element from the headset does take out some of the fun. And you probably wouldn’t be able to play lots of the minigames that came with the Labo VR package. Also, the additional VR support for most of these games is pretty much universally terrible. But, hey, they were free. Would you buy a Nintendo VR headset just to try some of those free VR updates?
