You might not consider a company like Nike to have much use for the likes of virtual, augmented and mixed reality technologies. As it turns out, they’ve been looking at them for at least two years.
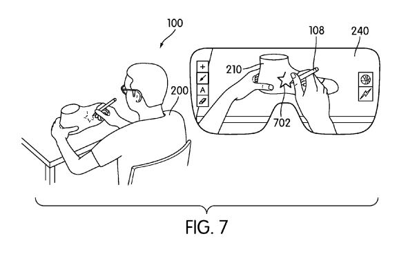
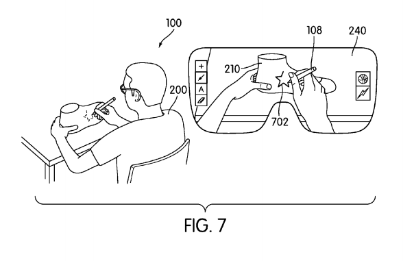
The iconic sportswear company has recently been granted a patent for a new AR system that lets people design clothes. According to the document’s description, the system allows a person to virtually modify articles of clothing using a head-mounted display. Artificial designs would show up over “a proxy located in a real-world environment”. In other words, your virtual design would overlay on a real world object like a shoe, effectively allowing you to create your own patterns or a logo.
You can see the concept in action in the image above. Using a pen-like peripheral the user is able to select from a variety of options that appear on the sides of the display. He draws a star and covers the shoe in dots, using a selector on the right side of the display to pick a color for the shoe. Later images also have a user making designs for shirts and shorts.
It’s not too surprising to learn that Nike filed this patent all the way back in December 2014, roughly one month before Microsoft introduced its HoloLens mixed reality headset to the masses. If this patent is to ever come to fruition, it could easily be an app for that headset or the upcoming Magic Leap. The real question is if this patent hints at a tool intended for consumers to design their own clothes, or something Nike might only use internally to quickly create mock-ups of potential products.
If we were to guess we’d say the latter; allowing users to create their own clothes would also include a costly process of manufacturing them, but it certainly would be an interesting potential avenue to pursue.

