A newly-discovered patent filing gives us what may be our best look yet at new PSVR controllers for the unannounced PSVR 2.
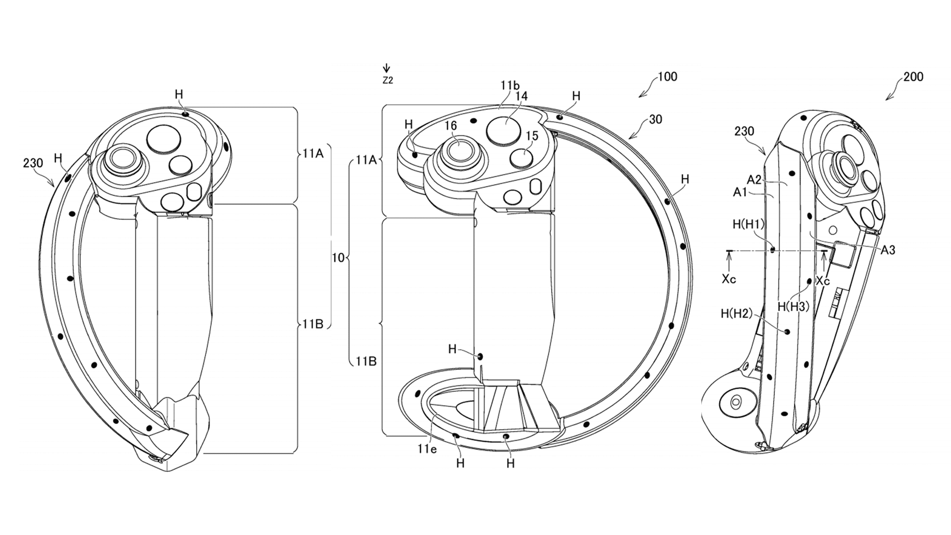
The Japanese filing, first spotted by Let’s Go Digital, includes detailed diagrams of the devices from various angles. Though the text is in Japanese and we can’t translate, the designs do seem consistent with a number of other patents and research filings we’ve seen out of Sony in the past few years.
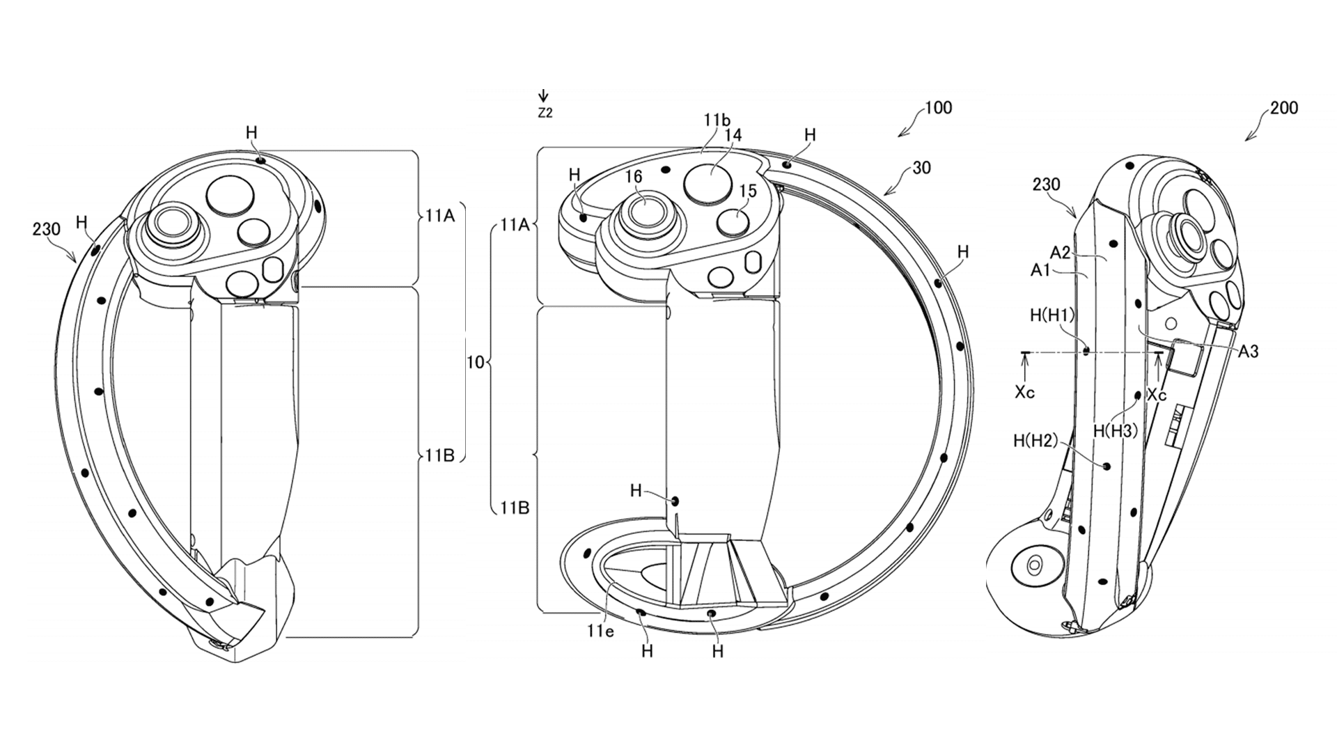
New PSVR Controllers Spotted
The controllers, for example, look very similar to Valve’s Index Controllers, with a side-mounted ring that would likely house sensors for 6DOF tracking. The main grip for the controllers definitely looks like it could imitate the Index Controllers’ finger-tracking technology too. Earlier this year, we discovered a Sony research video that confirmed the company was working on such technology.
Those frustrated with the original PSVR’s Move controllers will be happy to hear these new PSVR controllers sport analogue sticks too. Plus there are what looks like two face buttons and two smaller buttons that could perhaps mirror the PS5’s ‘Share’ and ‘Options’ buttons. It’s interesting to note that, overall, this is a fewer amount of buttons that on the original Move controllers, making us wonder how and if these controllers might accommodate old PS4 VR games.
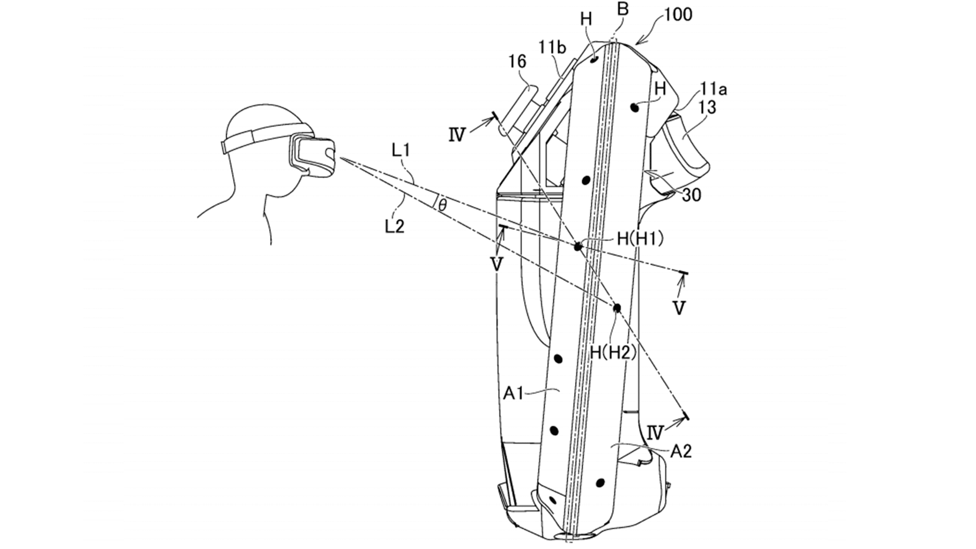
Another look at the design confirms that the controllers have not only triggers, but it also looks like the PSVR headset itself can track the position of the controllers. That suggests PSVR 2 might use an inside-out tracking system similar to the Oculus Quest and Rift S rather than the original PSVR, which relied on a user-facing camera.
As always, we should point out it’s very possible that these patent filings won’t amount to much but, as we said before, they’re certainly consistent with other Sony filings we’ve seen. PS5 is launching in November and will support the original PSVR, but a new iteration of the headset won’t be releasing alongside the console. Hopefully we’ll hear more about the company’s future VR plans in the new year.
What do you make of these new PSVR controllers? Let us know in the comments below!


