There’s yet more evidence that Apple is working on its own VR solution; the company recently filed a patent for an Apple VR boundary system.
The document, filed in late March and published on August 13th (as spotted by Apple Insider) is for ‘Detecting Physical Boundaries’ when “immersed in a virtual reality environment”. The goal would be similar to Facebook’s Guardian and Valve’s Chaperone systems, which detect when a VR user is reaching the edges of their physical play space and present virtual barriers to warn them.
Apple’s Guardian
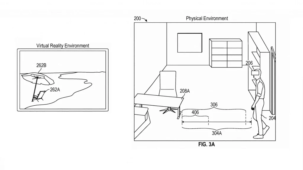
The filing goes pretty in-depth with how Apple’s solution works. It features a two ‘threshold’ system, with different thresholds being triggered depending on the user’s distance to a given object. Pass the first threshold and the system will display “a visual indication in the virtual reality environment wherein the visual indication corresponds to the distance associated with the physical object.”
Then, if you get close enough to breach the second threshold, the system might display a “visual representation of at least part of the physical environment,” using a camera on the headset to give you a more direct warning. When you step outside your Guardian boundary on the Oculus Quest or Rift, the entire real-world shows in black and white. Apple’s system sounds like it could be more selective with what it shows.
Different Approaches
Perhaps what’s most interesting about the filing, though, is the different solutions it presents for redirecting users. In the image above, for example, the headset might breach the second threshold and then take the user into the real world, displaying the virtual world as an environment to walk back into like a door behind them.
In the image below, meanwhile, Apple suggests first displaying a customizable virtual icon, like a painting, as an early warning about proximity to a physical object.
It’s not clear, however, if Apple’s system is able to automatically detect these physical objects, or if the user must first define their own play space. Currently, Facebook’s Guardian system is able to detect when obstacles are in your play space as you’re setting up and alert you to them to move them out of the way.
More Apple VR Evidence
This is perhaps some of the most direct evidence yet that Apple is working on a full VR solution. It is, of course, just a patent filing and nothing may ever come of it. Note that one of the credited inventors, Avi Bar-Zeev, actually left Apple in early 2019. But rumors in June suggested the company is working on a standalone VR headset for 2022 alongside various other AR devices.
What do you make of this Apple VR boundary system? Let us know in the comments below!

