Virtual reality is currently a war story that is being fought by two main combatants: Oculus (owned by Facebook) and HTC (partnered with Valve). These two colossi, and their respective Rift and Vive VR head mounted displays, will soon be challenged by a third opponent when Sony finally releases its PlayStation VR headset this October. Even though the industry is currently keeping its eyes focused primarily on these three juggernauts, there is also a fourth giant that continues to slumber just outside of the ring. That giant’s name is Apple, and it may be beginning to stir.
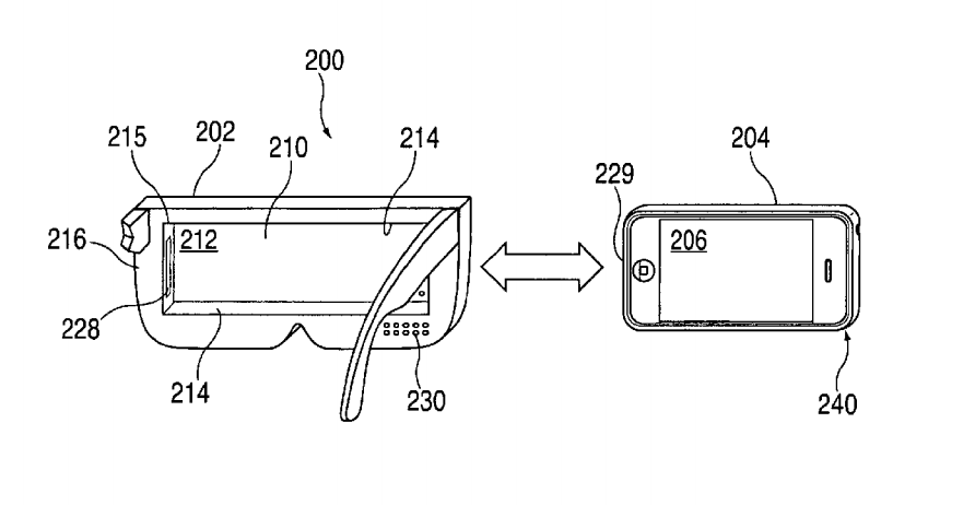
Today, it’s revealed that a patent has been awarded to Apple for a “Head-Mounted Display Apparatus For Retaining A Portable Electronic Device With Display.”
The patent outlines a potential head mounted display that has the ability to “couple” itself with an Apple created smartphone in order to view certain images on the phones screen. The proposed HMD would contain built-in headphones, a lightning connector to merge the two devices, an eyeglasses-like form-factor, and custom lenses.
Apple’s outlined invention here has several similarities to the Samsung Gear VR that are immediately recognizable. Both of these devices differentiate themselves from other mobile HMDs such as Google Cardboard, or a variety of overseas knock-offs, through the physical connectors that allow the phone and device to be linked directly. According to the language in the specifications section of the patent, this coupling ability is the primary IP that Apple is interested in protecting with this patent.
The awarding of this patent could be less consequential than it initially seems. Companies like Apple have gargantuan R&D departments that churn out ideas and prototypes faster than they can be reviewed or implemented. The last thing Apple wants is to lose out on is a solid IP because of some slow moving bureaucracy. Therefore, Apple, and companies like it, may patent an invention that it has little intention of actually producing, at least in the short term.
That isn’t to say that we will never see this product or something like it on store shelves, but the more interesting revelation, however, is that this patent confirms that Apple is indeed actively creating some type of VR system. What’s more, it seems that this device will work closely with iPhones, which makes perfect sense for a company that is so actively involved in and helped kickstart the smartphone market itself. Apple is also confident about the potential of AR as well.
This patent is just a small glimpse into the complex inner workings of Apple Inc. but it is enough to get VR fans excited at the prospect of potentially one day wearing a VR headset made of brushed steel with only one button.

