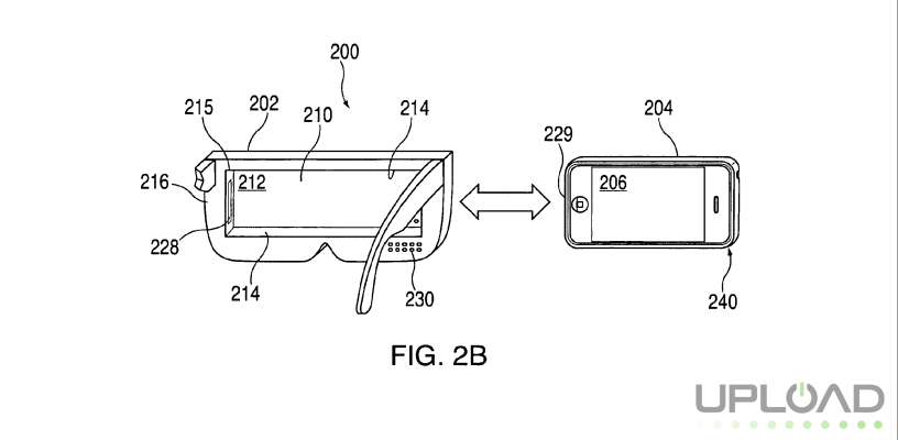
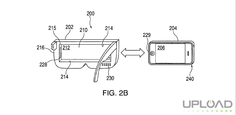
Today Apple was grated U.S Patent No. 8,957,835, for the “Head-Mounted Display Apparatus for Retaining a Portable Electronic Device with Display.” It was noted in the patent that “the frame may place a display screen of the portable electronic device in front of the user’s eyes,” and that “the display screen of the portable electronic device may act as the primary display screen of the head-mounted device.” Apple filed the patent back in September of 2008.
The concept of the HMD is very similar to the Samsung Gear VR. However, unlike the Gear VR launched by Samsung in December the patent includes illustrations which show a remote control that looks very similar to a remote for an Apple TV. The patent also is much more reminiscent to a pair of glasses then it is to a goggles.
The majority of the patent describes a system which displays one image frame which can be viewed as a screen type display. Apple does point to stereoscopic imaging towards the end of the document stating “It should also be emphasized that the head-mounted display system is not limited to displaying one image frame. In some cases, it may be beneficial to provide multiple image frames (e.g., two image frames) to implement stereoscopic imaging.”
It is clear from this patent that Apple has had its eyes on VR for quite some time but this is by no means a public entry into the space. We still have at least a year before Tim Cook speaks to virtual reality in a keynote address, but Apple stepping into the space is a reassuring sign to VR entrepreneurs and investors alike.
When do you think we will see an Apple HMD? Let us know in the comments below.


