New patents from Sony give us a slightly better look at its work prototyping a glove controller for its PlayStation VR (PSVR) headset.
Earlier this year we reported that Sony had looked into a glove controller for PSVR but ultimately decided not to progress with it, at least that the time. These patents, first spotted by Neogaf member Rosti, detail different kinds of glove-based interfaces that could be used with a VR headset. However, they were published last year, suggesting these might be the gloves Sony has since abandoned.
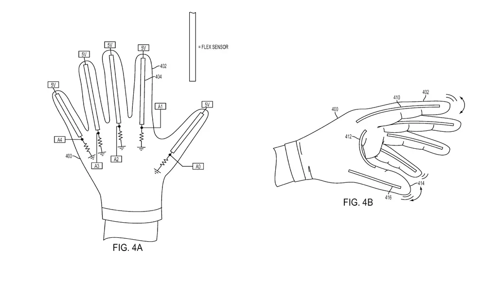
One patent mentions the tech using “at least one flex sensor configured to generate flex sensor data identifying a flex of at least one finger portion of the glove interface object”, suggesting that users would be able to make gestures with their fingers to control virtual worlds. In the image below, for example, certain hand poses appear to summon virtual objects.

Interestingly, the patent also details a trackpad located on your thumb that interacts with your index finger. This could be a means of control for locomotion.

We’ve seen lots of glove controllers for other VR headsets; when they work they’re able to accurately replicate hand movements inside of VR, while current options like the Oculus Touch controllers can really only track the position of your hands and then use buttons as a means of interaction. While gloves might be immediately more realistic, the issue of haptic feedback, requiring pressure on your hands to feel like you’re holding or pushing something, still remains.
We’re still keen to see Sony introduce new input for PSVR. Though the headset has plenty of great software, the PlayStation Move controllers used to control much of it are somewhat dated. Whether it’s gloves, new controllers or something else entirely, we’re hoping that the company has something in store for VR input in the future.