At this point Apple’s interest in AR is well-documented; the company’s upcoming ARKit platform, due to arrive with iOS 11, is likely a precursor to something much bigger. A new patent from the company published this month shows you exactly what bigger could be.
The patent discloses a method of displaying points of interest in the real world using AR. Through the screen of an iPhone, for example, you might be able to spot iconic landmarks in a city, similar to something we’ve already seen from one iOS developer. The idea itself is hugely promising and is shown multiple times throughout the patent, with a tablet at one point recognising and virtually labelling the various features of the interior of a car. But later diagrams show something more interesting: the same system running on an AR headset.
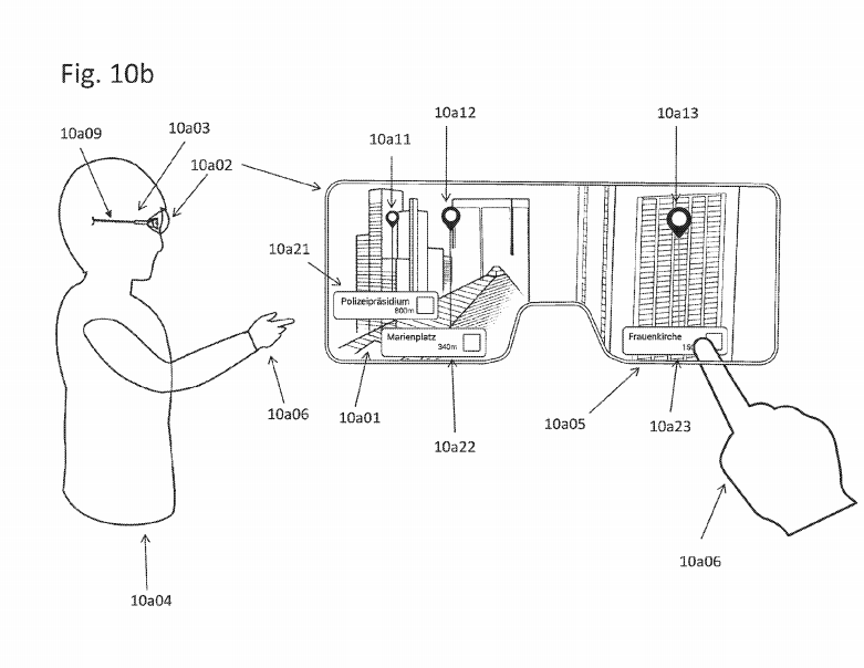
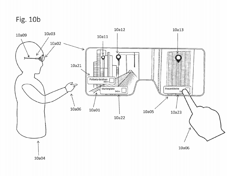
Two images in the patent (above and below) show a user wearing this headset, with the one below showing them interacting with the virtual imagery using their hands, too.
The patent goes on to describe these images as showcasing ‘semi-transparent’ screens for a head-mounted display as an example of a ‘state of the art’ application of its technology. The points of interest are shown on the display and a user can move a finger to overlap the corresponding annotations to interact with them. The patent does note that this method of input can occlude virtual images, though, and that using your hand for a long period of time can be uncomfortable.
It’s not the first time we’ve seen an AR headset or something similar mentioned in Apple’s patents, though it is the first time we’ve seen a potential form of input listed. With ARKit already showcasing a lot of great AR content, we can easily envision Apple one day releasing a headset to compete with the likes of HoloLens and Magic Leap. Right now if feels more like a question of when rather than if.
