One of our favorite features of LG’s SteamVR headset when we tried it back in March was the ability to flip the display up for quick access to the real world. But a newly-revealed patent suggests the company might have redesigned this feature with a bizarre twist.
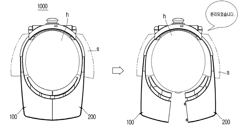
Dutch site LetsGoDigital discovered the patent, filed with the World Intellectual Property Organization (WIPO). The outlines of the device look very similar to the prototype was saw many months ago now, except with one key change: users can split the front of the headset in two, right down the middle.

Yes, you can really detach the front of the device to take it off. It’s very strange though, in fairness, if the kit uses a dual-panel display it’s also entirely feasible. The device appears to use a spring-loaded mechanism to clip together.
Check out all the patent images here. We can’t help but wonder if this is a truly useful feature or if we preferred the original flip mechanism, which has since been replicated in devices like Acer’s Windows VR headset.
Of course, this is just a patent and there’s no way of telling if this idea will be included in the final design of the device, which may be called the UltraGear. After a long silence, the kit recently resurfaced at a Korean gaming festival but with the clock running out on 2017 we doubt we’ll be hearing anything about a possible release until 2018.