Own a PSVR? One day you might be able to spectate esports leagues from inside virtual reality.
Sony recently filed a patent application titled “Spectator View Into An Interactive Gaming World Showcased In A Live Event Held In A Real-World Venue”. The patent describes using an array of cameras to make the VR user feel as if they’re attending the tournament.

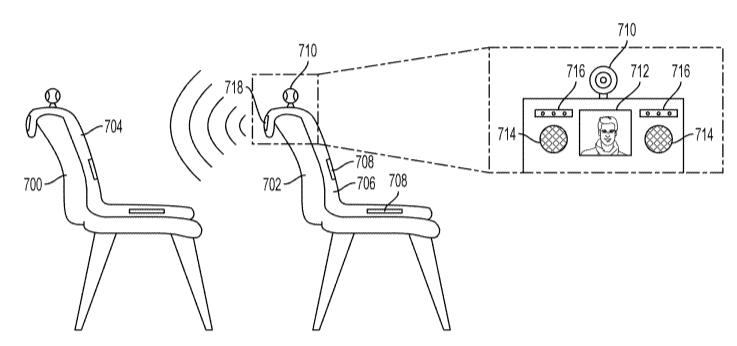
The cameras and microphones would be embedded in the seats themselves. A proximity sensor in the seats could tell whether real people are sitting in the seats, so as to not use those for broadcast.
The patent also describes letting the VR user see inside the game being played. Imagine toggling between being in the audience and being in the game. It additionally envisions hybrid modes where elements of the game appear in a virtual augmented reality view around the arena.
Esports is a huge industry with the largest matches being watched by tens of millions of viewers. The ability to virtually sit in the audience could get a lot of new buyers into VR. Facebook streams live events in VR with Oculus Venues and that includes a crowd, but that’s been focused on physical sports. Arguably the overlap of people interested in VR and esports is larger than that of traditional sports.
Valve added a spectator mode to the DOTA 2 international championships, but Sony’s approach adds a large audience too.
Which exact events would be streamed is unclear, but some images in the patent show the text “PlayStation Plus League” implying that Sony could use virtual reality to boost their own services too.