Today, Oculus was granted a patent for a new method of moving around in a virtual environment that is more “natural and intuitive” to the user than teleporting – which has been an industry standard until now. One embodiment of the method was shown with a smartphone head-mounted display which can track hand movements.
By determining a person’s body posture (ie: standing, leaning, etc) and identifying hand gestures, Oculus could break through one of the biggest issues of VR: movement. The inventors of the patent are listed as the former employees of Pebbles Interfaces, which Oculus acquired last year. Specializing in Interaction Design, this patent could be the first reveal of what they’ve been working on at Oculus since last July.
Seemingly taking inspiration from Minority Report, the patent describes an example of how the movement interaction would work. By measuring the distance between your hands when doing a “move” gesture, your speed and distance correlates to how far you spread your hands from each other.
Similarly, by determining body positioning and pose, you can move through an environment just by leaning to the direction you want to move, the same way you’d move on a Segway.
Before you ask about motion sickness, Oculus has it covered. By carefully matching how much you’re leaning to your movement to VR, the patent means to make the movement system very comfortable.
The patent even hints at an external camera being used to determine minor body movements like “raising shoulders to invoke movement.” It’s unclear, but perhaps that will move you up and down?
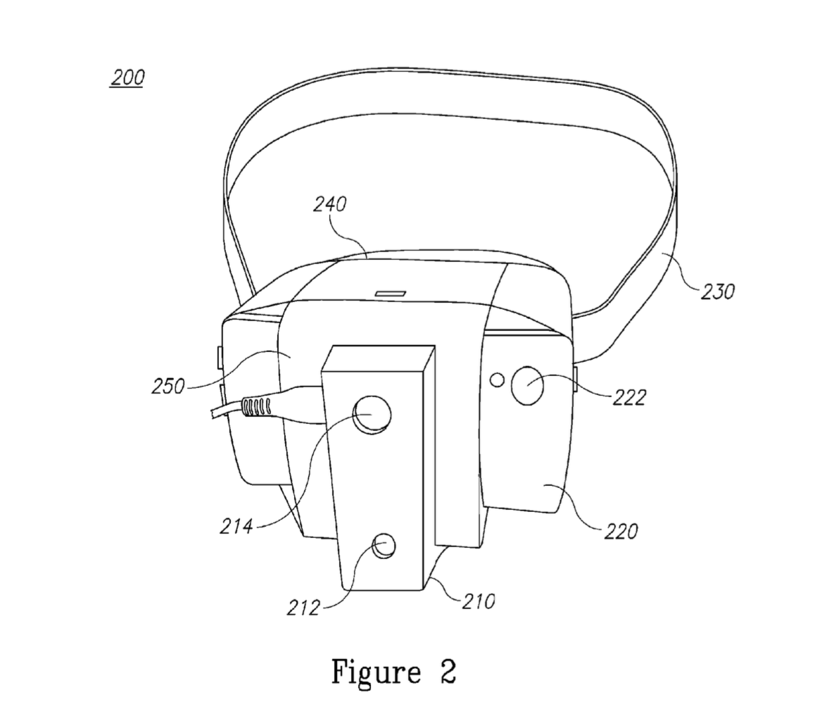
Perhaps the juiciest detail Oculus included in this patent is its tease of a future device schematic. This patent specifically states that the embodiments of the interactions aren’t just limited to one input method, such as the Oculus Touch controllers, but can be applied to more advanced hand tracking systems, like augmented reality with hand gestures.
The patent shows the schematics of a smartphone-based HMD with “an illuminator (e.g. laser transmitter) such as an infra-red (IR) pattern illuminator, a camera such as an IR camera” to do hand gesture tracking, and possibly inside-out positional tracking.
“In operation, device may serve as a means for providing VR navigation commands using intuitive posturing and gesturing of one or more body parts of the user as will be detailed hereinafter. “
It’s unclear if position tracking is part of the patent, but Oculus CTO John Carmack has made mobile position tracking his personal project, using stereo cameras as a way of figuring out your location in the world. Mobile position tracking is VR’s holy grail and it’s a problem both Google and a number of startups are attempting to solve.
Although the Oculus Touch controllers did not launch with the headset in March (they’ll be arriving later this year), one of the advantages that they have over the HTC Vive motion controllers is the addition of basic finger tracking to do simple tasks like pointing in environments and giving a thumbs-up (or maybe even flipping a bird), all of which are important social gestures we use in our everyday interactions.
For more details, you can access the patent here.




