Gaming giant Nintendo filed for a patent for a positional tracking system for glasses. The tracking is used to add a parallax effect to content on a 2D screen so it would appear 3D.
Despite being called ‘Eye Tracking Enabling 3D Viewing’, the system described actually tracks the glasses, not pupils. Multiple tracking methods are listed, including specific references to the use of an infrared camera and IR retroreflectors.
The user would be provided with the correct angle view of virtual objects. The glasses themselves could be frameless. This is similar to a Carnegie Mellon University research project from all the way back in 2007:
The described system in itself is not actually VR- to be clear. But the potential here is that Nintendo could build from this research if deciding to enter the VR market.
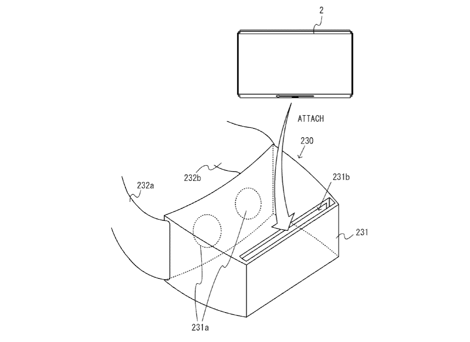
In 2016 Nintendo filed a patent for a VR headset design where the Switch would slide in. While the concept is similar to Samsung Gear VR, the patent was considered by many to be impractical due to the Switch’s weight and low resolution panel.
Back in August a group of hackers discovered a secret setting in the Nintendo Switch called ‘Test VR Mode’. A method called ‘SetVrModeEnabled’ was even discovered in the system code.

However as recently as January of last year, Nintendo downplayed their interest in virtual reality. A company representative stated “I doubt they can appeal to the mainstream”. Back in 2017, Reggie Fils-Aime claimed that there weren’t many “truly fun” VR games.
It’s clear that Nintendo is researching virtual reality and related technologies. But the company’s commitment to actually entering the market is much less certain. Given Nintendo’s ability to focus on fun core gameplay over flashy graphics however we very much so hope they do take a stab at VR.