Skip to content

Apple HMD Research Continues With New Eye-Tracking Patent

Apple HMD Research Continues With New Eye-Tracking Patent

An Apple patent for eye-tracking published today highlights the company’s continued research and investment into VR and AR.

Last year Apple reportedly acquired leading eye-tracking company SMI, which forced other manufacturers using the tech in their hardware designs to find other options. Eye-tracking is important for comfortable communication using a VR or AR headset — allowing you, for example, to make eye contact with people elsewhere in the world. Also, research suggests more visually impressive details could be rendered on less powerful hardware by showing the greatest detail directly in front of your eye.

LinkedIn profiles associated with the names of Apple employees listed on the patent application don’t show any previous employment at SMI, suggesting this idea is the product of a separate team. The patent application — 20180113508 — specifically covers a method of tracking eye movement using a camera next to the eye and “hot” mirrors that only reflect invisible infrared light.

From the patent:

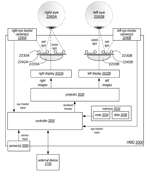
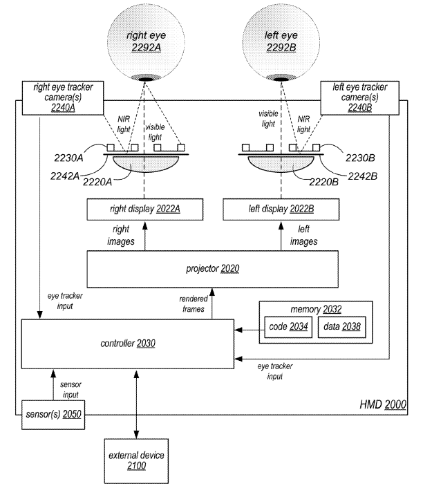
The eye tracking system may include at least one near-IR (NIR) eye tracking camera positioned at each side of the user’s face and pointed towards eye-facing surfaces of eyepieces of the HMD, an illumination source that emits NIR light towards the user’s eyes, and hot mirrors located between the eye-facing surfaces of the eyepieces and the user’s eyes. The hot mirrors reflect at least a portion of NIR light, while allowing visible light to pass. The cameras capture images of the user’s eyes reflected by the hot mirrors. Positioning the hot mirrors at or near the eye-facing surfaces of the eyepieces allows the cameras to be placed at the sides of the user’s face without having to image through the eyepieces.

Apple is famously secretive and, with products like iPhone and iPod, the company has a track record of waiting to enter markets until it has developed a new compelling user experience. The company patents lots of technologies that never see the light of day, too, but this one joins the long list of hires, acquisitions and comments from CEO Tim Cook that spatial computing represents a major area of interest going forward.

UploadVR logo

Unlock the full potential of UploadVR and support our independent journalism with an ad-free experience by becoming a Member.

Weekly Newsletter

See More