In an industry populated with giants such as Google, Facebook and Microsoft it is astounding that one of the most important names in the game is a startup known as Magic Leap. This highly secretive, Florida-based company is working on an unspecified augmented reality device.
Earlier this year, Magic Leap raised an enormous round of fundraising when it pulled in $793.5 million dollars from the likes of Google, Qualcomm and China’s Alibaba group. Currently sitting at a $4.5 billion valuation, Magic Leap could be one of the most valuable startups on the planet. Despite these massive numbers, all that the wider world has seen of this technology are videos like this:
Magic Leap must have something to show these investors impressive enough to force open their pocket books, but the press and the public are still guessing as to what exactly the company’s first product is going to be.
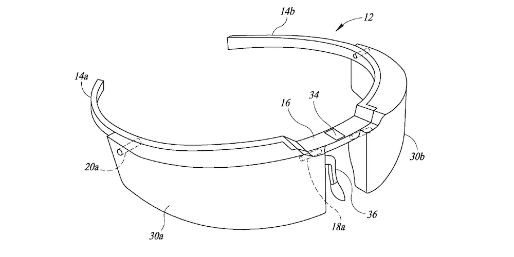
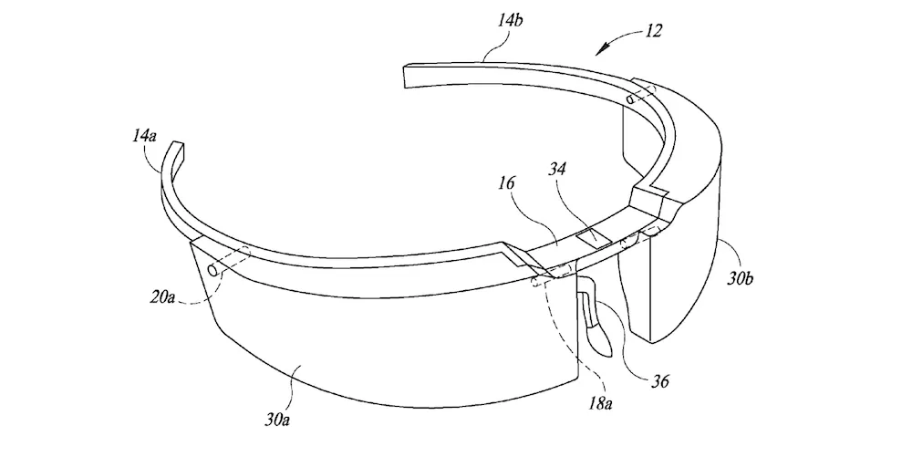
Today, we have a new straw to grasp at in the form of a fresh patent. Magic Leap applied for a design with the United States Patent Office for, “Virtual or augmented reality headsets having adjustable interpupillary distance.”
“Interpupillary distance” is simply the distance between your pupils and being able to set it is an important part of making a VR or AR headset functional. These devices send imagery to each eye and being able to position these images correctly is vital.
Besides the interpupillary system, the Magic Leap patent also depicts sleeker form factors than we’ve seen before.
These are the most ergonomically compact designs we’ve seen associated with Magic Leap thus far. Their previous patents indicated a much larger, visor-style headset that resembles its competitors ( Microsoft HoloLens and Meta 2) more closely.
The earlier patent for the bulkier system was, according to Magic Leap, not representative of what their final design will look like. This slimmer patent is probably in the same boat, but it debuts the same week Magic Leap CEO Rony Abovitz teased “We just achieved a number of major product dev milestones.”
While it is highly unlikely the patent reveals a design matching what would actually ship to buyers from Magic Leap, making augmented reality devices slim and sleek enough people would want to use them out in the real world is an enormous challenge. The patent imagery suggests, at the very least, Magic Leap is actively thinking about this problem.
