Patent filings continue to reveal yet more of Sony’s R&D work in the VR space. This time it’s for a headset that uses sensors to tell if you’re wearing it right and even features room for haptic feedback.
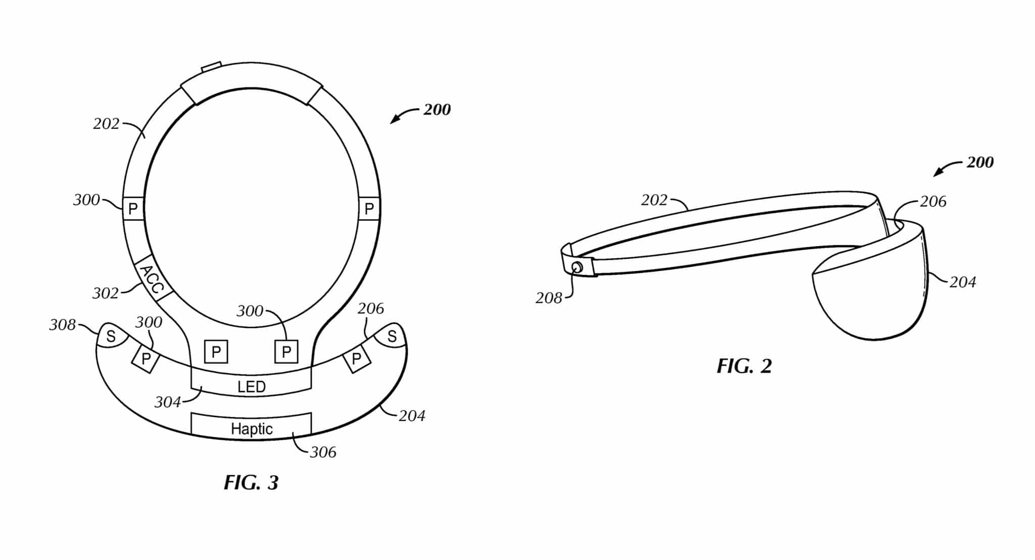
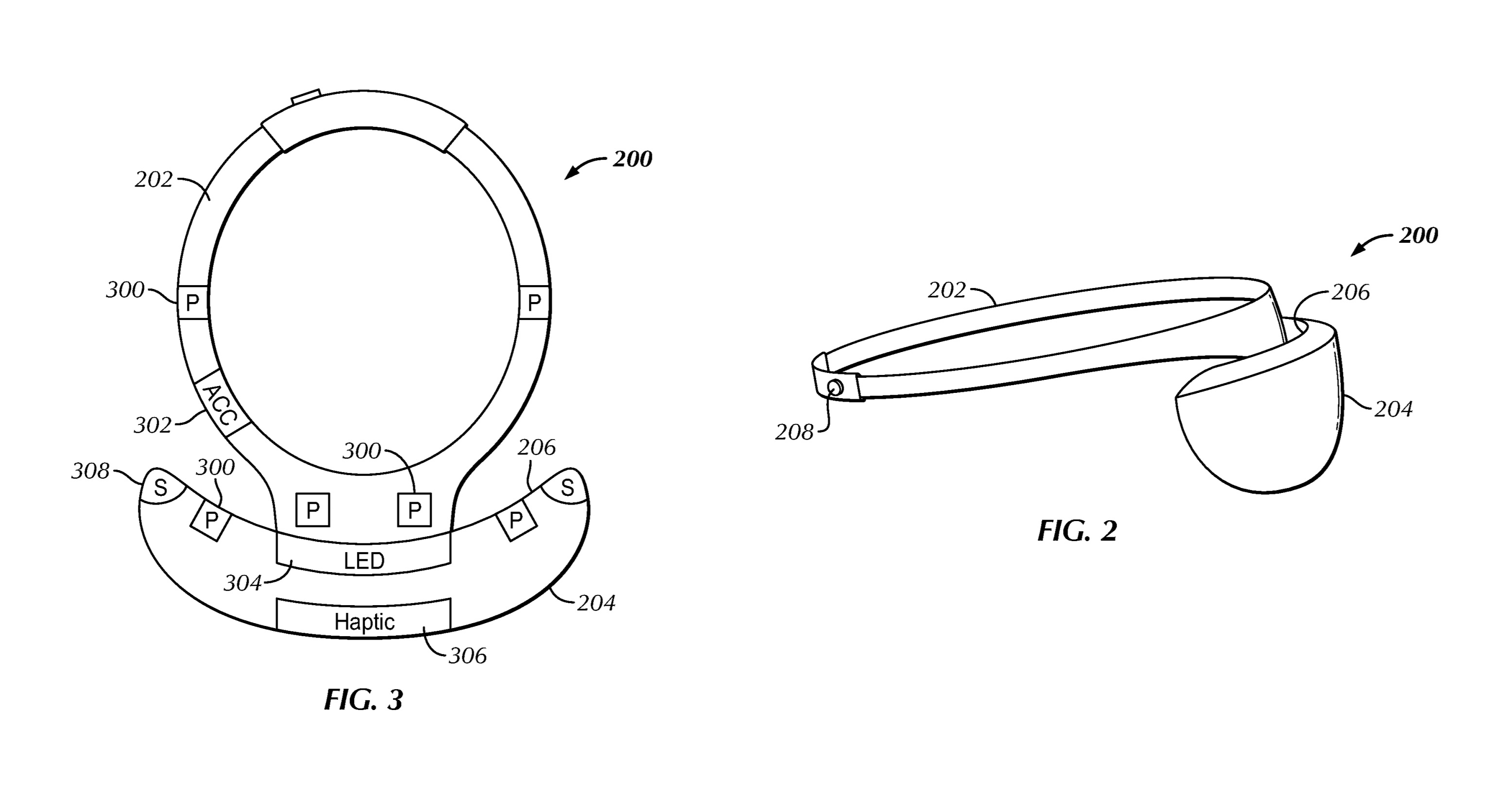
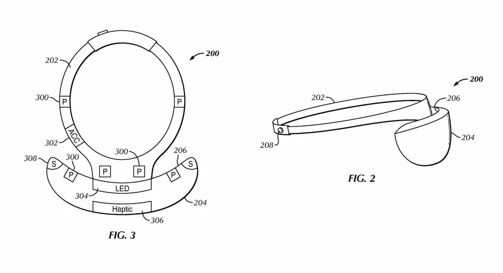
The patent, first spotted by Let’s Go Digital, was first filed in 2016 but only revealed this month. It primarily details a means of detecting “whether a computer game headset is being worn properly so that the wearer may be advised” using a sensor. This could be done, the patent notes, either with pressure or motion sensors. If those sensors decide you’re not wearing the device right, you’d get a message in the headset like the colorful example below.
This could, in Sony’s words, be used to combat discomfort in VR; wearing a headset wrong might be literally uncomfortable on your face and, more likely, you’ll also be distorting the image of the virtual world through the lenses.
Interestingly, as Let’s Go Digital points out, one of the figures used in the patent filing also adds that the headset is fitted with haptics and LEDs. “Additionally or alternatively, one or more [LEDs] and/or one or more haptic feedback generators may be mounted on the headset for purposes to be shortly disclosed,” the patent reads.
Now that’s interesting. Could Sony have worked on a VR headset that itself offers haptic feedback in reaction to virtual worlds? Would that even really work very well? Haptic feedback technology is largely used in game controllers; the new DualSense controller for PS5 features improved feedback in this area. The idea of putting that tech on your face is certainly fascinating at the very least – imagine perhaps feeling rain or wind as you walk through a virtual storm.
Notably, this patent was filed on September 30th 2016, just two weeks before PSVR itself launched on October 13th, so we don’t know if these features were ever intended for a possible PSVR 2. We do know that Sony is working on future headsets, at least on an R&D level, but, for now, the recently-launched PS5 only supports the original PSVR for backwards compatible titles. You can keep up with everything we know about PSVR 2 right here.

